Официальное опубликование правовых актов
ОФИЦИАЛЬНОЕ ОПУБЛИКОВАНИЕ
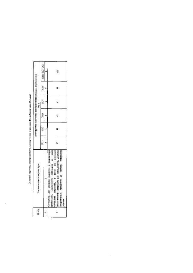
Указ Главы Республики Саха (Якутия) от 26.07.2021 № 1991
"О региональной программе "Модернизация первичного звена здравоохранения Республики Саха (Якутия) на 2021-2025 годы"
Номер опубликования: 1400202108030003
Дата опубликования: 03.08.2021
Страница №451 из 532:
Увеличить