Официальное опубликование правовых актов
ОФИЦИАЛЬНОЕ ОПУБЛИКОВАНИЕ
Указ Главы Республики Саха (Якутия) от 30.01.2018 № 2386
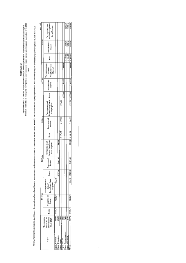
"О внесении изменений в государственную программу Республики Саха (Якутия) "Формирование современной городской среды на территории Республики Саха (Якутия) на 2018-2022 годы", утвержденную Указом Главы Республики Саха (Якутия) от 28 августа 2017 г. № 2094"
Номер опубликования: 1400201802080003
Дата опубликования: 08.02.2018
Страница №35 из 37:
Увеличить