Официальное опубликование правовых актов
ОФИЦИАЛЬНОЕ ОПУБЛИКОВАНИЕ
Постановление Правительства Республики Саха (Якутия) от 25.08.2016 № 312
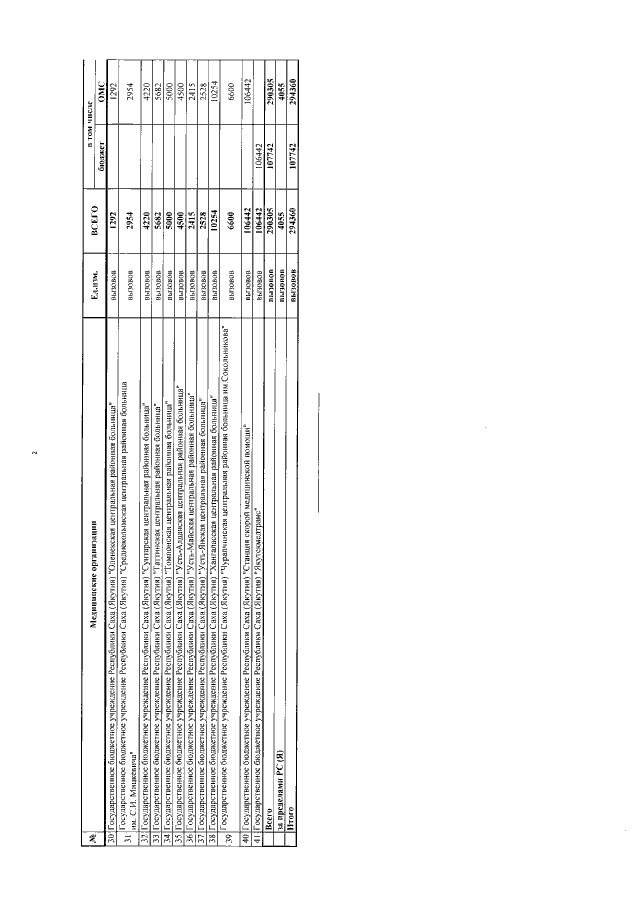
"О внесении изменений в постановление Правительства Республики Саха (Якутия) от 15.01.2016 г. № 6 "Об утверждении Программы государственных гарантий бесплатного оказания гражданам медицинской помощи в Республике Саха (Якутия) на 2016 год""
Номер опубликования: 1400201609010002
Дата опубликования: 01.09.2016
Страница №26 из 26:
Увеличить