Официальное опубликование правовых актов
ОФИЦИАЛЬНОЕ ОПУБЛИКОВАНИЕ
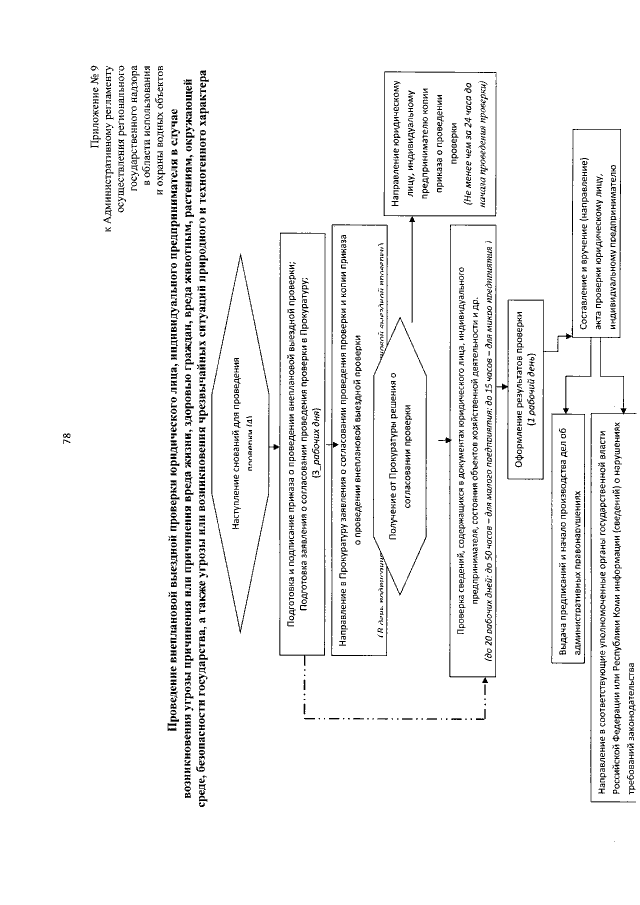
Приказ Министерства природных ресурсов и охраны окружающей среды Республики Коми от 03.06.2019 № 895
"Об утверждении административного регламента осуществления регионального государственного надзора в области использования и охраны водных объектов"
Номер опубликования: 1101201906100003
Дата опубликования: 10.06.2019
Страница №78 из 85:
Увеличить