Официальное опубликование правовых актов
ОФИЦИАЛЬНОЕ ОПУБЛИКОВАНИЕ
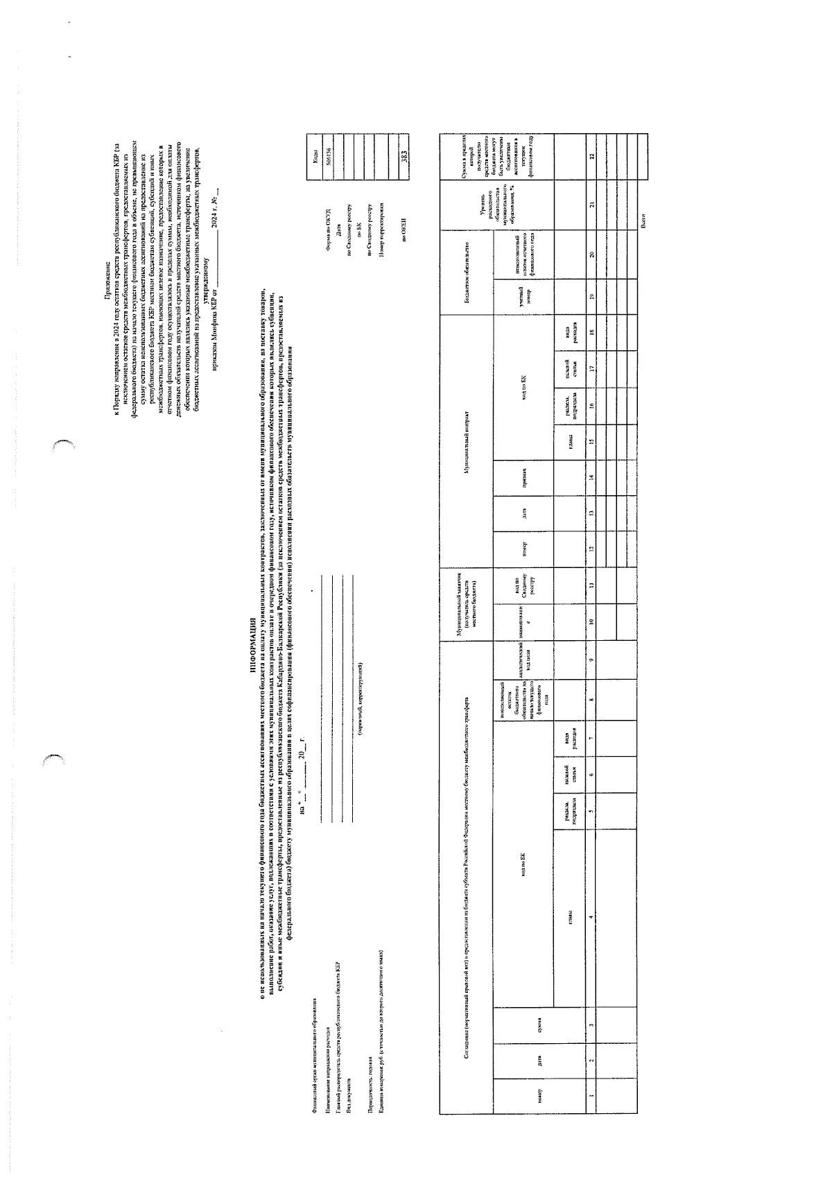
Приказ Министерства финансов Кабардино-Балкарской Республики от 08.04.2024 № 67
"Об утверждении Порядка направлений в 2024 году остатков средств республиканского бюджета КБР (за исключением остатков средств межбюджетных трансфертов, предоставляемых из федерального бюджета) на начало текущего финансового года в объеме, не превышающем сумму остатка неиспользованных бюджетных ассигнований на предоставление из республиканского бюджета КБР местным бюджетам субвенций, субсидий и иных межбюджетных трансфертов, имеющих целевое назначение, предоставление которых в отчетном финансовом году осуществлялось в пределах суммы, необходимой для оплаты денежных обязательств получателей средств местного бюджета, источником финансового обеспечения которых являлись указанные межбюджетные трансферты, на увеличение бюджетных ассигнований на предоставление указанных межбюджетных трансфертов"
Номер опубликования: 0701202404160001
Дата опубликования: 16.04.2024
Страница №7 из 7:
Увеличить