Официальное опубликование правовых актов
ОФИЦИАЛЬНОЕ ОПУБЛИКОВАНИЕ
Постановление Кабинета Министров Республики Адыгея от 09.10.2024 № 164
"О внесении изменений в постановление Кабинета Министров Республики Адыгея от 14 декабря 2020 года № 257 "О региональной программе модернизации первичного звена здравоохранения Республики Адыгея"
Номер опубликования: 0100202410110002
Дата опубликования: 11.10.2024
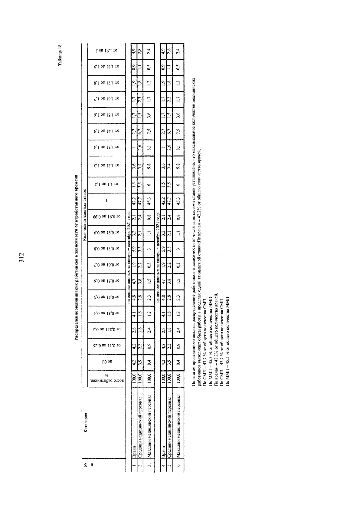
Страница №314 из 430:
Увеличить