Официальное опубликование правовых актов
ОФИЦИАЛЬНОЕ ОПУБЛИКОВАНИЕ
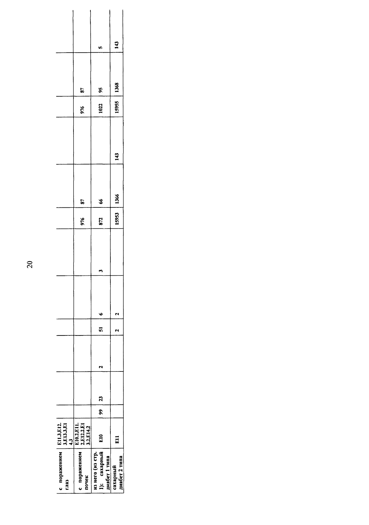
Распоряжение Главы Республики Адыгея от 22.01.2024 № 4-рг
"О региональной программе "Борьба с сахарным диабетом в Республике Адыгея"
Номер опубликования: 0100202401230005
Дата опубликования: 23.01.2024
Страница №22 из 65:
Увеличить