Официальное опубликование правовых актов
ОФИЦИАЛЬНОЕ ОПУБЛИКОВАНИЕ
Постановление Кабинета Министров Республики Адыгея от 17.11.2023 № 290
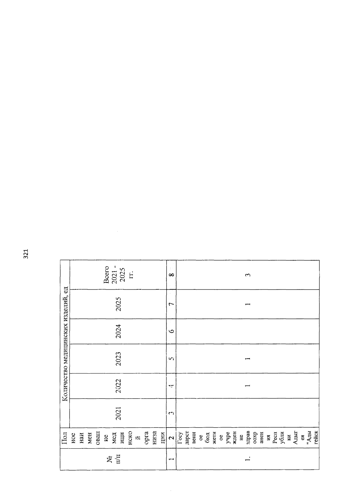
"О внесении изменения в постановление Кабинета Министров Республики Адыгея от 14 декабря 2020 года N 257 "О региональной программе модернизации первичного звена здравоохранения Республики Адыгея"
Номер опубликования: 0100202311210006
Дата опубликования: 21.11.2023
Страница №323 из 526:
Увеличить