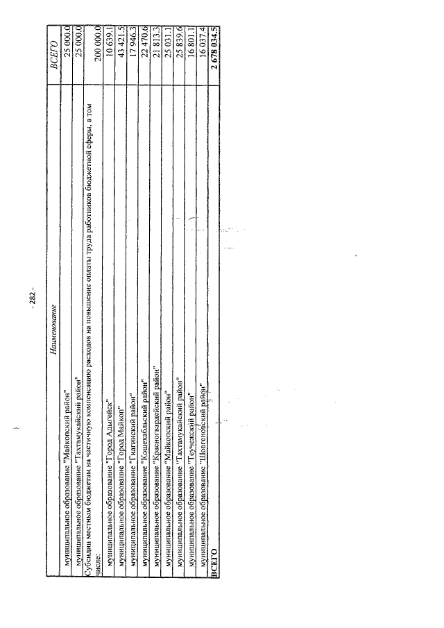
Закон Республики Адыгея от 05.03.2019 № 217
"О внесении изменений в Закон Республики Адыгея "О республиканском бюджете Республики Адыгея на 2019 год и на плановый период 2020 и 2021 годов"
"О внесении изменений в Закон Республики Адыгея "О республиканском бюджете Республики Адыгея на 2019 год и на плановый период 2020 и 2021 годов"
Номер опубликования: 0100201903070007
Дата опубликования:
07.03.2019
