Официальное опубликование правовых актов
ОФИЦИАЛЬНОЕ ОПУБЛИКОВАНИЕ
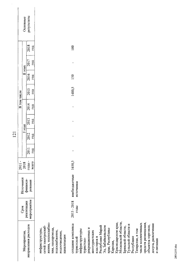
Постановление Правительства Российской Федерации от 07.02.2018 № 117
"О внесении изменений в федеральную целевую программу "Развитие внутреннего и въездного туризма в Российской Федерации (2011 - 2018 годы)"
Номер опубликования: 0001201802090032
Дата опубликования: 09.02.2018
Страница №122 из 138:
Увеличить