Официальное опубликование правовых актов
ОФИЦИАЛЬНОЕ ОПУБЛИКОВАНИЕ
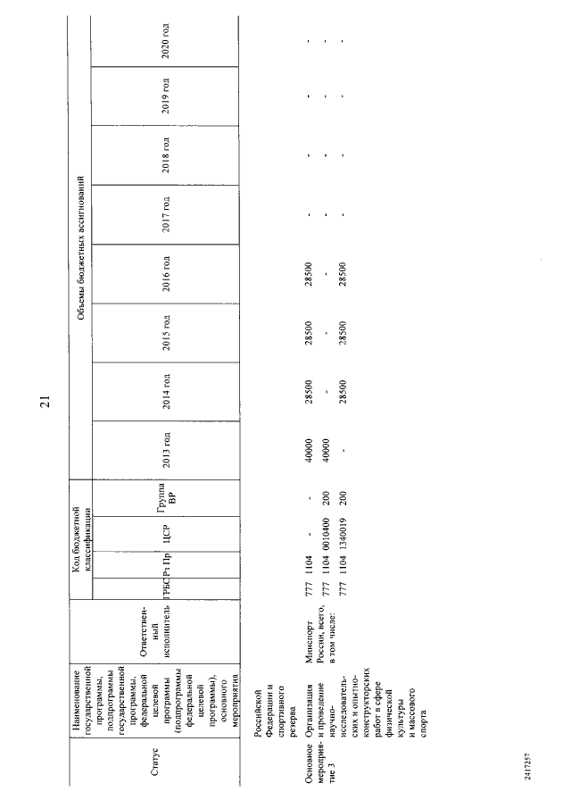
Постановление Правительства Российской Федерации от 16.08.2014 № 821
"О внесении изменений в государственную программу Российской Федерации "Развитие физической культуры и спорта"
Номер опубликования: 0001201408190050
Дата опубликования: 19.08.2014
Страница №22 из 26:
Увеличить