Официальное опубликование правовых актов
ОФИЦИАЛЬНОЕ ОПУБЛИКОВАНИЕ
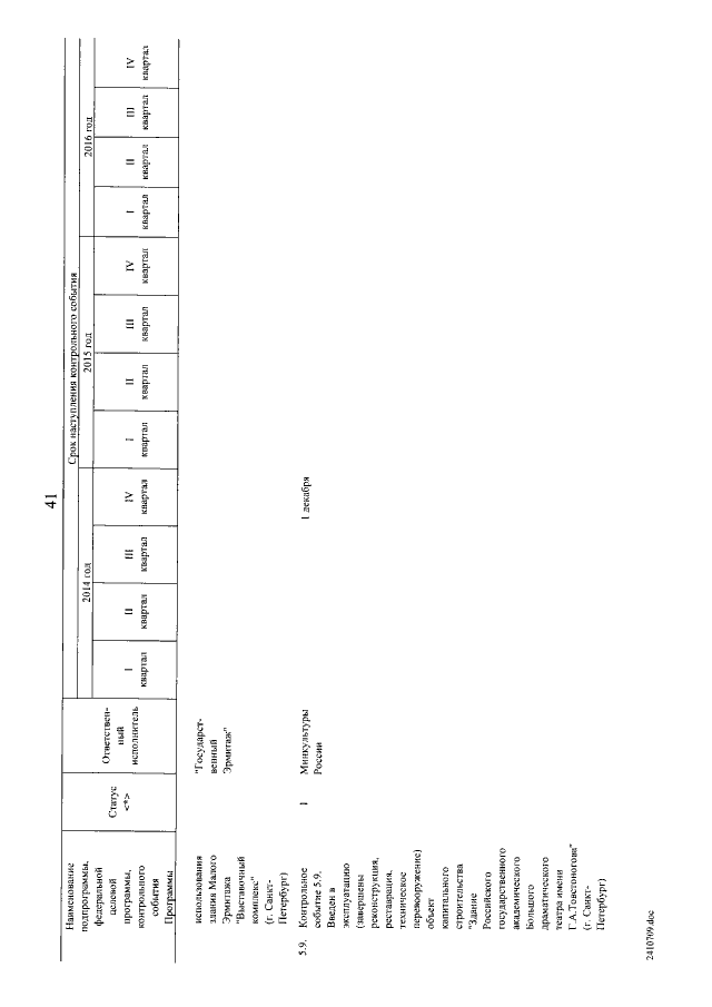
Постановление Правительства Российской Федерации от 09.08.2014 № 788
"Об утверждении плана реализации в 2014 году и в плановый период 2015 и 2016 годов государственной программы Российской Федерации "Развитие культуры и туризма" на 2013 - 2020 годы"
Номер опубликования: 0001201408140001
Дата опубликования: 14.08.2014
Страница №42 из 67:
Увеличить