Официальное опубликование правовых актов
ОФИЦИАЛЬНОЕ ОПУБЛИКОВАНИЕ
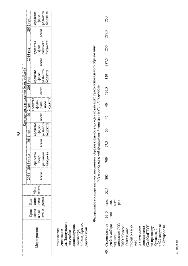
Постановление Правительства Российской Федерации от 26.12.2013 № 1262
"О внесении изменений в Федеральную целевую программу развития образования на 2011-2015 годы"
Номер опубликования: 0001201401040034
Дата опубликования: 04.01.2014
Страница №44 из 83:
Увеличить