Официальное опубликование правовых актов
ОФИЦИАЛЬНОЕ ОПУБЛИКОВАНИЕ
Постановление Правительства Московской области от 22.03.2021 № 194/8
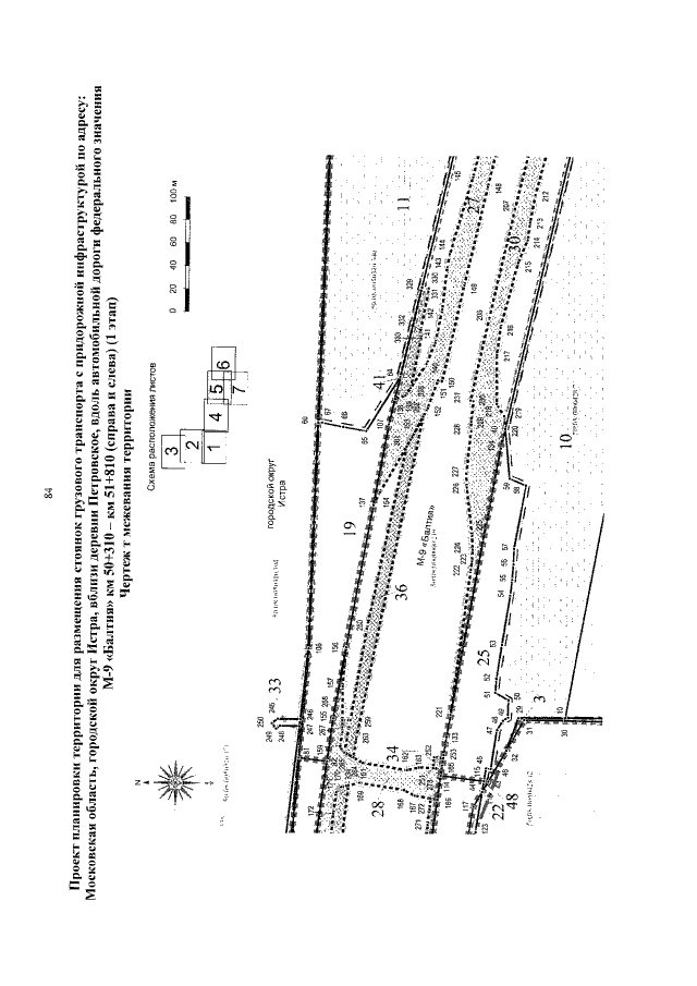
"О внесении изменений в проект планировки территории для размещения стоянок грузового транспорта с придорожной инфраструктурой по адресу: Московская область, городской округ Истра, вблизи Деревни Петровское, вдоль автомобильной дороги федерального значения М-9 "Балтия" км 50+310 - км 51+810 (справа и слева)"
Номер опубликования: 5000202103250004
Дата опубликования: 25.03.2021
Страница №86 из 96:
Увеличить