Официальное опубликование правовых актов
ОФИЦИАЛЬНОЕ ОПУБЛИКОВАНИЕ
Приказ Службы государственной охраны объектов культурного наследия Калининградской области от 27.03.2023 № 111
"О включении выявленного объекта культурного наследия в единый государственный реестр объектов культурного наследия (памятников истории и культуры) народов Российской Федерации в качестве объекта культурного наследия местного (муниципального) значения "Дом жилой", начало XX века, Калининградская область, город Светлогорск, улица Октябрьская, дом 5, и об утверждении границ и режима использования территории объекта культурного наследия"
(Зарегистрирован 27.03.2023 № ГР/258/2023)
Номер опубликования: 3901202303290010
Дата опубликования: 29.03.2023
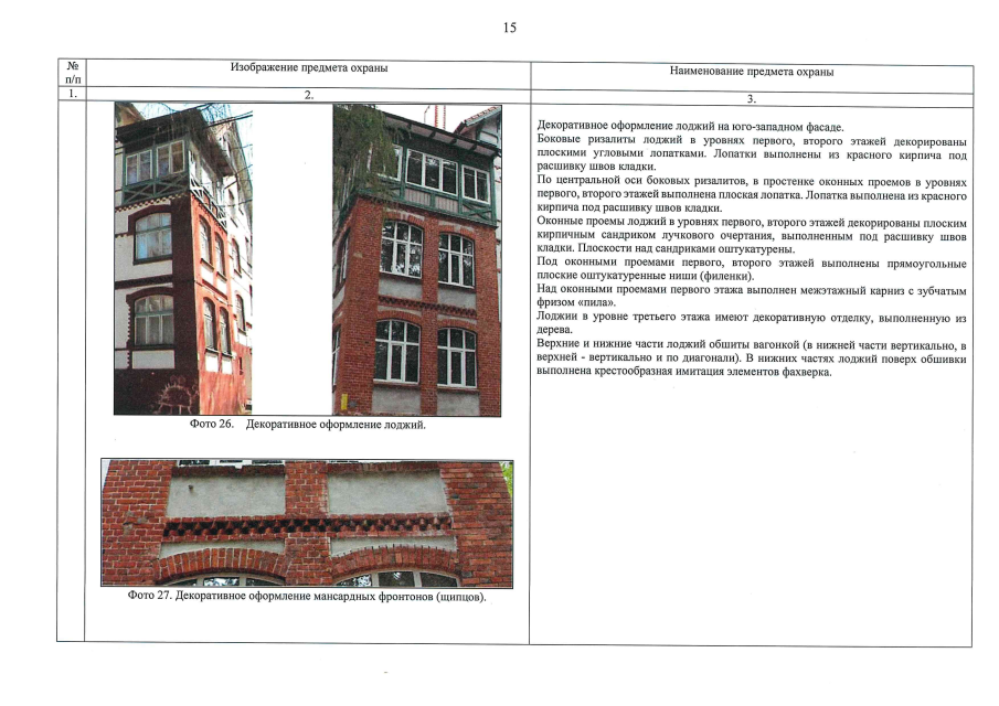
Страница №17 из 28:
Увеличить