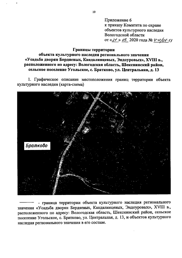
Приказ Комитета по охране объектов культурного наследия Вологодской области от 21.05.2020 № 4-О/01-13
"О включении выявленного объекта культурного наследия "Усадьба дворян Бердяевых, Кандалинцевых, Эндоуровых", ХVII в.‚ расположенного по адресу: Вологодская область, Шекснинский район, сельское поселение Угольское, с. Братково, ул. Центральная, д. 13, и выявленных объектов культурного наследия в его составе в Единый государственный реестр объектов культурного наследия (памятников истории и культуры) народов Российской Федерации в качестве объектов культурного наследия регионального значения и утверждении границ их территории"
"О включении выявленного объекта культурного наследия "Усадьба дворян Бердяевых, Кандалинцевых, Эндоуровых", ХVII в.‚ расположенного по адресу: Вологодская область, Шекснинский район, сельское поселение Угольское, с. Братково, ул. Центральная, д. 13, и выявленных объектов культурного наследия в его составе в Единый государственный реестр объектов культурного наследия (памятников истории и культуры) народов Российской Федерации в качестве объектов культурного наследия регионального значения и утверждении границ их территории"
Номер опубликования: 3501202005210003
Дата опубликования:
21.05.2020
