Официальное опубликование правовых актов
ОФИЦИАЛЬНОЕ ОПУБЛИКОВАНИЕ
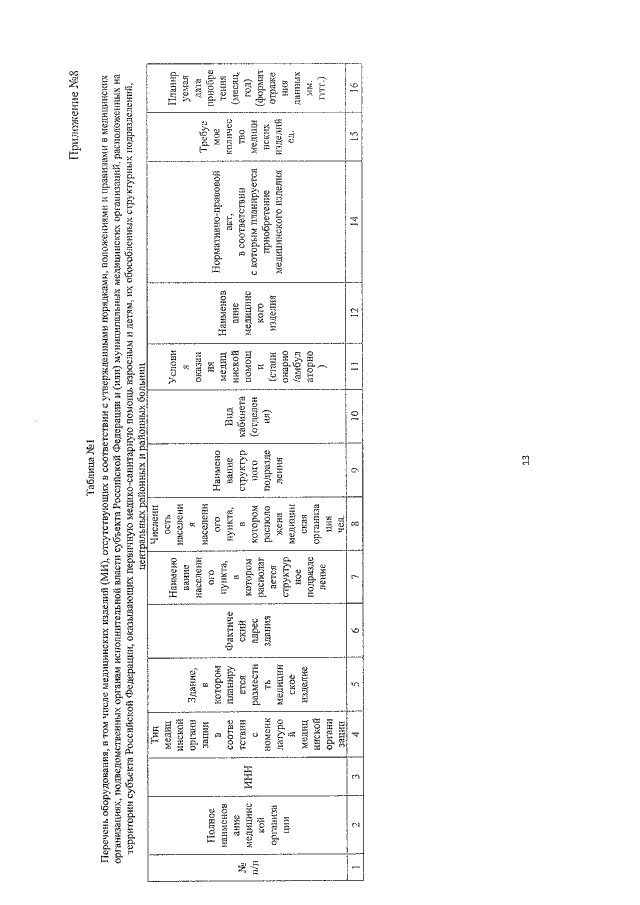
Постановление Правительства Республики Калмыкия от 29.07.2021 № 291
"О внесении изменения в региональную программу "Модернизация первичного звена здравоохранения Республики Калмыкия", утвержденную постановлением Правительства Республики Калмыкия от 11 декабря 2020 г. № 379"
Номер опубликования: 0800202108030003
Дата опубликования: 03.08.2021
Страница №13 из 41:
Увеличить