Официальное опубликование правовых актов
ОФИЦИАЛЬНОЕ ОПУБЛИКОВАНИЕ
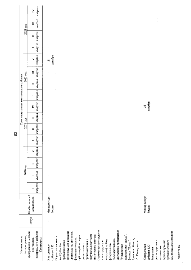
Постановление Правительства Российской Федерации от 31.03.2021 № 514
"О внесении изменений в государственную программу Российской Федерации "Развитие фармацевтической и медицинской промышленности"
Номер опубликования: 0001202104080013
Дата опубликования: 08.04.2021
Страница №83 из 124:
Увеличить