Официальное опубликование правовых актов
ОФИЦИАЛЬНОЕ ОПУБЛИКОВАНИЕ
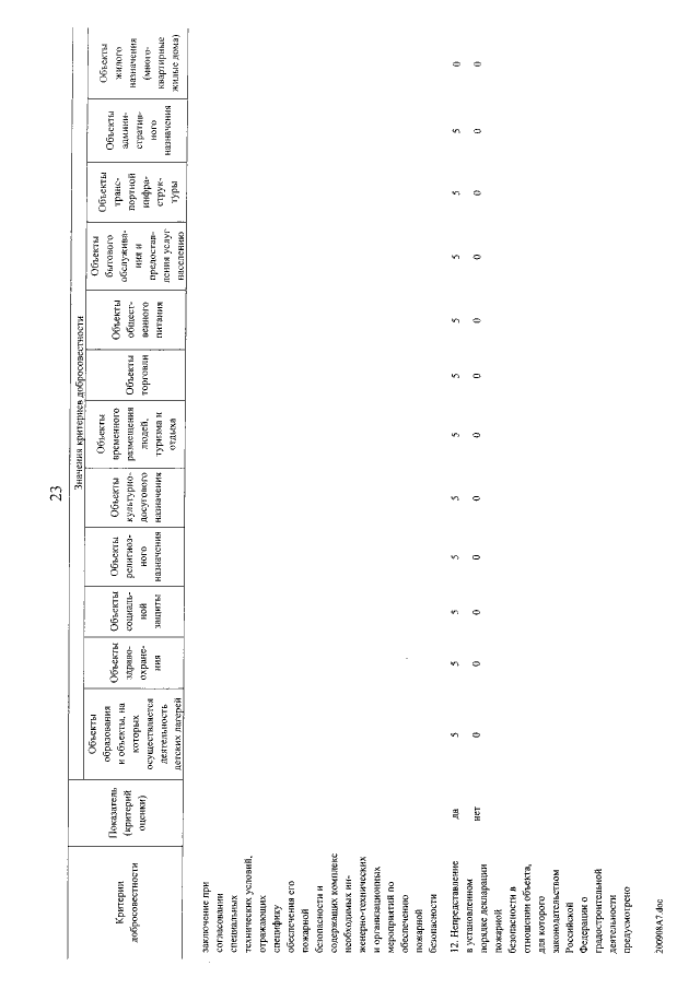
Постановление Правительства Российской Федерации от 12.10.2020 № 1662
"О внесении изменений в Положение о федеральном государственном пожарном надзоре"
Номер опубликования: 0001202010150066
Дата опубликования: 15.10.2020
Страница №24 из 29:
Увеличить