Официальное опубликование правовых актов
ОФИЦИАЛЬНОЕ ОПУБЛИКОВАНИЕ
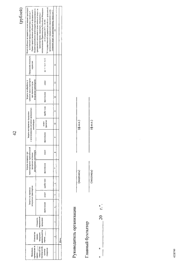
Постановление Правительства Российской Федерации от 18.09.2019 № 1214
"О внесении изменений в некоторые акты Российской Федерации"
Номер опубликования: 0001201909240007
Дата опубликования: 24.09.2019
Страница №44 из 59:
Увеличить