Официальное опубликование правовых актов
ОФИЦИАЛЬНОЕ ОПУБЛИКОВАНИЕ
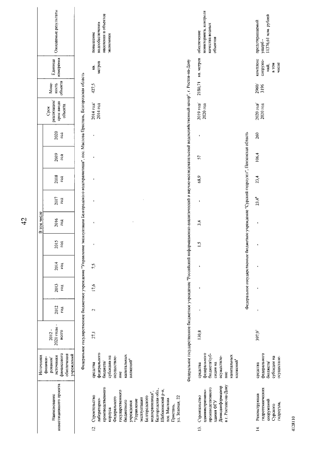
Постановление Правительства Российской Федерации от 20.06.2019 № 786
"О внесении изменений в федеральную целевую программу "Развитие водохозяйственного комплекса Российской Федерации в 2012 - 2020 годах"
Номер опубликования: 0001201906270007
Дата опубликования: 27.06.2019
Страница №43 из 258:
Увеличить