Официальное опубликование правовых актов
ОФИЦИАЛЬНОЕ ОПУБЛИКОВАНИЕ
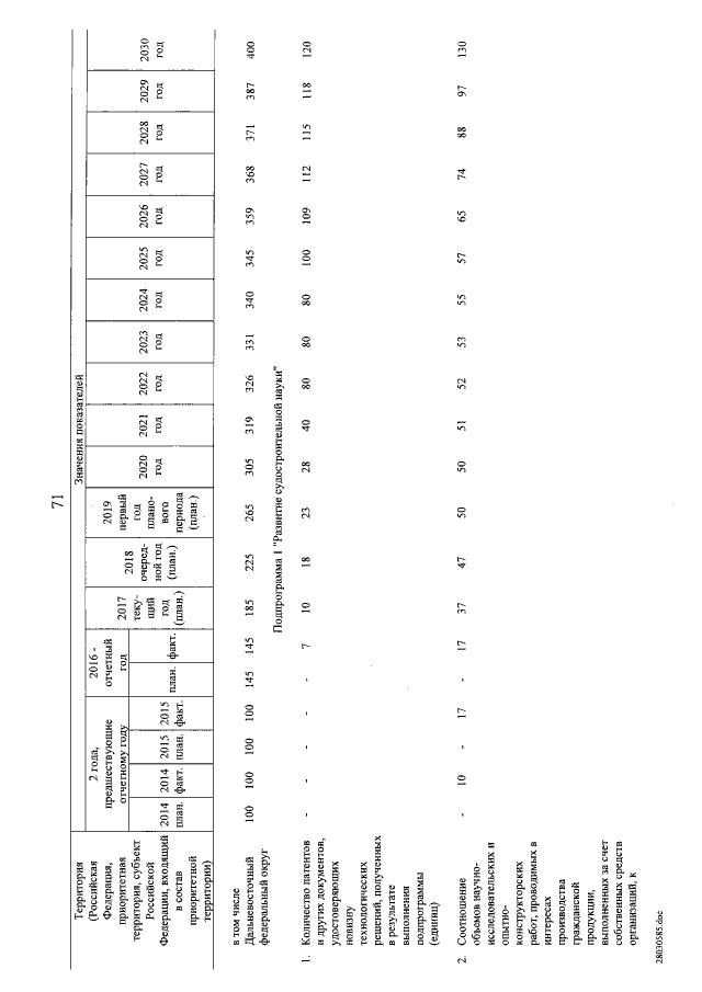
Постановление Правительства Российской Федерации от 30.03.2018 № 360
"О внесении изменений в государственную программу Российской Федерации "Развитие судостроения и техники для освоения шельфовых месторождений на 2013 - 2030 годы"
Номер опубликования: 0001201804020028
Дата опубликования: 02.04.2018
Страница №72 из 80:
Увеличить