Официальное опубликование правовых актов
ОФИЦИАЛЬНОЕ ОПУБЛИКОВАНИЕ
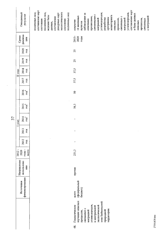
Постановление Правительства Российской Федерации от 11.11.2017 № 1366
"О внесении изменений в федеральную целевую программу "Охрана озера Байкал и социально-экономическое развитие Байкальской природной территории на 2012 - 2020 годы"
Номер опубликования: 0001201711150008
Дата опубликования: 15.11.2017
Страница №38 из 58:
Увеличить